Contact Vinidex Customer Service for availability of products on this page.

 

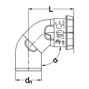
Vinidex Code Akatherm Code Nominal Size (mm) Angle
67314 VKL-110-LRB-90D 110 90°
*Longer lead-times apply